
Выхлопная система автомобиля «Форд Фокус» II поколения не предоставляет владельцу особых хлопот. Однако в связи с особенностями конструкции некоторые части глушителя могут быть повреждены быстрее основных труб. Речь идёт о гофре и катализаторе. Это довольно дорогостоящие элементы системы выхлопов, поэтому в случае их выхода из строя затраты на покупку новых могут быть очень высокими. Но у опытных автовладельцев есть способы, как провести работы по ремонту выхлопной системы без больших вложений.
- 4 Замена катализатора на «Форд Фокус 2»
- 4.1 Готовим инструмент
- 4.2 Как снять катализатор своими руками
- 4.3 Как поставить обманку и что это такое
- 4.4 Замена катализатора на пламегаситель
- 4.4.1 Видео: замена катализатора на пламегаситель своими руками
Выхлопная система «Форд Фокус 2»
Содержание статьи:
Выхлопная система предназначена для вывода отработавших газов из двигателя. Это соединение нескольких элементов, которые не просто выводят газы и токсины из коллектора, но ещё и понижают образовывающиеся при этом шумы и вибрации.
Выхлопная система на автомобилях «Форд Фокус» всех поколений состоит из нескольких, последовательно соединённых между собой частей:
- каталитический коллектор (он включает в свой состав и нейтрализатор выхлопов);
- дополнительный глушитель (от также носит название резонатора);
- промежуточная труба;
- основной глушитель;
- выхлопная труба.
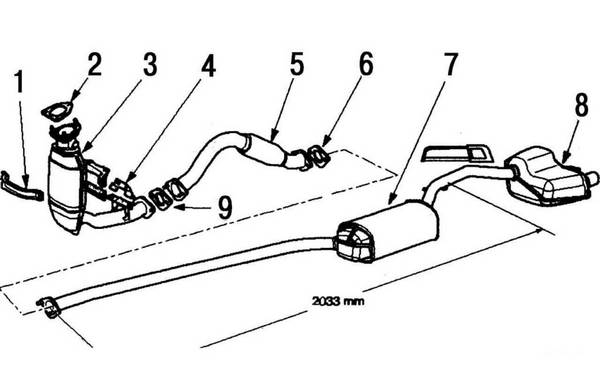
Схематичное изображение системы выхлопов на «Форде Фокусе 2»
Схематическое изображение системы выхлопов на «Фокусе 2» даёт представление об устройстве этого узла авто. На рисунке обозначены следующие элементы:
На катколлекторе «Форда Фокус 2» устанавливаются два датчика кислорода (один размещается до нейтрализатора, другой — после него, чтобы вычислять эффективность очистки выхлопов). Приёмная труба подсоединяется к выпускному коллектору посредством армированной прокладки. Уплотнитель позволяет избежать сильного нагревания труб и служит своего рода защитным элементом между коллектором и трубами глушителя.
Дальнейшие части выхлопной системы «Фокуса», расположенные по всей длине кузова. Они крепятся между собой болтовыми соединениями и сварочными швами. Поэтому в случае необходимости можно демонтировать как сразу все части глушителя, так и менять их по одной.
Резонатор, промежуточная труба и основной глушитель крепятся к днищу автомобиля с помощью пяти резиновых подушек. При этом подвески имеют разную форму — для обеспечения надёжности фиксации некоторые резинки имеют утолщения.
Чтобы защитить мотор и днище кузова от воздействия высоких температур (трубы выхлопной системы очень сильно нагреваются), на «Форд Фокус 2» устанавливаются специальные термозащитные экраны. Они выполняются из нетканых материалов и монтируются на всём протяжении глушителя. А над трубами каталитического коллектора дополнительно устанавливается ещё один экран, так как эта часть выхлопной системы больше всего подвержена нагреванию.
Система выхлопов на автомобилях «Форд Фокус» не требует специального технического обслуживания. Будет достаточно периодически осматривать трубы глушителя, проверять надёжность болтовых соединений и эластичность резиновых подушек.
Основные неисправности системы и ремонт
Самым первым признаком неполадок в системе выхлопов может служить громкий рёв из-под кузова. К тому же, в салоне автомобиля могут появиться посторонние запахи. Всё это свидетельствует о том, что глушитель неисправен. В частности:
- корпус прогорел;
- «глушак» деформировался из-за ударов о неровности дорожного покрытия;
- в металле образовалась дыра;
- произошла разгерметизация системы из-за выработки прокладок.
Главнейшей причиной образования всех этих неисправностей считается коррозия. Она быстрее появляется именно в зимнее время, так как в России для устранения наледей на дорогах используют химические реагенты.
Ремонт глушителя не всегда целесообразен. При образовании большого прогара лучше всего сразу же заменить элемент системы.
В некоторых случаях автовладельцы заваривают дыры или наваривают дополнительный слой металла на тонкие стенки глушителя и резонатора. Однако это временная мера, так как процесс коррозии остановить практически невозможно.
Глушитель на Форд Фокус 2 — внешний вид
Как заменить гофру глушителя «Форд Фокус 2»
Гофра — это один из дополнительных элементов выхлопной системы. На ряде современных моделей гофра отсутствует. Однако на «Форд Фокус» всех поколений гофра устанавливается ещё с завода, чтобы снизить уровень вибраций от двигателя. Гофра действительно сокращает пульсацию отработавших газов, так как принимает основную нагрузку на себя. Благодаря установке этого термозащитного элемента, раскачивание выхлопной трубы и резинок-подвесок удаётся свести к минимуму. Соответственно, срок службы труб увеличивается.
Гофра должна быть заменена после того, как на её поверхности образовались трещины и разрывы. То есть сигналом к замене служит деформация изделия или полное его прогорание. Заявленный производителем срок службы может быть изменён количеством часов эксплуатации автомобиля и характером езды водителя.

Гофра глушителя Форд Фокус 2: вышедшая из строя и новая деталь
Причины выхода гофры из строя
Гофра состоит из металлического гофрированного рукава небольшой длины. По поверхности этого рукава выполняется оплётка — обычно одинарная, на последних версиях «Фокуса» — двойная, для более надёжной защиты. Длина гофры и количество слоёв оплётки на разных поколениях машины меняется, однако причины выхода из строя остаются неизменными:
- прогары — из-за длительного воздействия высоких температур рано или поздно покрытие гофры прогорит;
- деформация — изделие может порваться из-за сильного удара во время аварии или неаккуратной езды;
- ненадёжность резиновых уплотнителей и болтовых соединений;
- разрывы из-за неправильной установки — в том случае, если в процессе установки гофры были нарушены правила монтажных работ, очень быстро изделие выйдет из строя, так как будет испытывать огромные нагрузки.

Новая гофра покрыта защитными слоями оплётки, которые препятствуют сильной пулсации выхлопов
Какие инструменты понадобятся для замены
Чтобы без труда провести замену гофры глушителя, нужно собрать следующий комплект инструментов:
- рожковые ключи;
![Как заменить гофру и катализатор на «Форд Фокус 2» своими руками Как заменить гофру и катализатор на «Форд Фокус 2» своими руками]()
Комбинированные ключи с обычными и рожковыми наконечниками удобны для работы
- УШМ (болгарка);
![Как заменить гофру и катализатор на «Форд Фокус 2» своими руками Как заменить гофру и катализатор на «Форд Фокус 2» своими руками]()
УШМ (болгарка) — незаменимый инструмент для ремонта автомобиля
- шлифовальная машинка;
![Как заменить гофру и катализатор на «Форд Фокус 2» своими руками Как заменить гофру и катализатор на «Форд Фокус 2» своими руками]()
Шлифовальная машинка поможет зачистить сварные швы глушителя
- металлические щётки;
![Как заменить гофру и катализатор на «Форд Фокус 2» своими руками Как заменить гофру и катализатор на «Форд Фокус 2» своими руками]()
Металлические щётки аккуратно удалят стружки и прочий мусор
- сварочный аппарат.
![Как заменить гофру и катализатор на «Форд Фокус 2» своими руками Как заменить гофру и катализатор на «Форд Фокус 2» своими руками]()
Если у вас нет сварочного аппарата, возьмите его на прокат у соседа по гаражу
Технология проведения ремонтных работ
Демонтаж и монтаж гофры не считаются сложной операцией. Однако необходимо крайне точно выполнять все стыковочные работы и расположить новую гофру с точностью до миллиметра на старом месте:

Трубы крепятся специальными резиновыми подвесками к днищу автомобиля
Качество установки новой гофры будет зависеть от трёх факторов:
- идеального радиального сопоставления гофры;
- равномерности сварных швов;
- грамотной установки трубы под капотом.
Замена катализатора на «Форд Фокус 2»
Конструктивно катализатор на автомобилях «Форд Фокус» состоит из сотовых носителей, которые выполнены из термостойкой керамики. Поверхность этих сот покрывается тончайшим слоем драгоценных металлов (родий, палладий или даже платина), так как такое покрытие позволяет катализатору отлично справляться со своей работой. По этой причине замена катализатора на новый — удовольствие очень дорогое.

Труба имеет несколько разветвлений, каждое из которых подсоединяется к своему цилиндру мотора
Часто с автомобилей «Форд Фокус 2» воруют именно катализаторы, так как они высоко ценятся в пунктах приёма металлов.
Готовим инструмент
Для работ по демонтажу катализатора и установке заменяющих его элементов пригодятся следующие инструменты:
- головка на 15;
- рычаг для головки;
- сварочный аппарат.
Как снять катализатор своими руками
Порядок работ выглядит так:
Процедура занимает 10–15 минут, в зависимости от того, насколько сильно болты и гайки проржавели.
Как поставить обманку и что это такое
Чтобы не тратиться на покупку нового катализатора, большинство автовладельцев «Форд Фокус» устанавливают на глушитель обманку и пламегаситель. Обманка — это такой узел, который позволяет электронному блоку управления «думать», что на трубах по-прежнему стоит катализатор. Эксплуатация автомобиля без катализатора будет невозможной, так как электронное устройство полностью блокирует работу мотора, если нет работоспособной системы отвода выхлопов.
Поэтому установка обманки — это самый простой и дешёвый способ ремонта глушителя, если катализатор вышел из строя. На сегодняшний день существует два вида обманок:
- механическая (более простая и надёжная, устанавливается на двигатели типа Евро-2 и Евро-3);
- электронная (имеет сложное строение, рекомендуется для установки на двигатели «Форд Фокус» типа Евро-4).

Электронные и механические устройства предназначены для «обмана» ЭБУ
Обманка ставится на место датчика кислорода (или лямбда-зонда), который находится сразу же после нейтрализатора. Процесс замены довольно простой:
Замена катализатора на пламегаситель
В среде автолюбителей есть мнение, что после замены катализатора на типовой пламегаситель «Форд Фокус 2» начинает громче работать. То есть из глушителя вырывается дополнительный шум и рёв. Это действительно так, если использовать пламегасители старого поколения.
Новые пламегасители обеспечивают тихую работу глушителя и вполне могут заменить дорогостоящий катализатор. Внутри изделия находятся шумопоглощающие камеры, всё пространство вокруг которых наполняется двумя или даже тремя видами специальной набивки. Набивка не просто сокращает шум работы глушителя, но и понижает температуру и давление выхлопных газов.
Пламегаситель может быть установлен двумя способами: на имеющийся корпус катализатора или вместо него. Второй вариант предпочтительнее, так как масса автомобиля не будет увеличиваться из-за наличия лишних элементов под кузовом.

Процедура подразумевает врезку пламегасителя в корпус катализатора
Для того чтобы на место катализатора установить пламегаситель, потребуется виртуозное владение сварочным аппаратом. Швы сварки должны быть идеально ровными и глубокими по всему диаметру трубы:
Видео: замена катализатора на пламегаситель своими руками
Замена гофры или катализатора на автомобиле «Форд Фокус 2» не считается простой процедурой. Необходимы навыки работы со сварочным аппаратом, так как успех работы зависит именно от равномерности наложения сварочного шва. Однако даже при найме сварщика эти работы обойдутся в несколько раз дешевле, чем покупка и установка новых оригинальных изделий.




