
А знаешь ли ты, дорогой автомобилист, что на машину можно установить прямоток своими руками. Это придаст автомобилю не только индивидуальность, но и значительно увеличит мощность двигателя, ведь прямоточный глушитель способствует этому. Сам он имеет конструкцию несложную, и работы по его изготовлению спокойно можно провести у себя в гараже, сохранив целым свой кошелёк и значительно усовершенствовав своего «железного» друга.
Автомобиль с прямоточным глушителем
Чтобы правильно подобрать и установить прямоток, необходимо довести до совершенства коллектор, модернизировать систему выхлопа и тщательно подобрать некоторые элементы деталей. Кроме того, нужно подобрать две огнестойкие трубы нужного размера.
Зачем это нужно
Содержание статьи:
Не стоит говорить, что доработанная система выхлопа придаст автомобилю сверхмощность, но вот уровень создаваемого двигателем рёва способен напугать соседей и прохожих, ненароком оказавшихся рядом с вашей «ласточкой». Но зато на трассе ваш автомобиль будут пропускать вперёд и провожать удивлёнными взглядами водители «крутых» иномарок, двигатель которых обладает даже большей мощностью, чем ваш. Но вот обычная система выхлопа, не прошедшая модернизации и так называемого тюнинга, не даёт двигателю заработать на полную мощь.
Вот так выглядит прямоточный глушитель:
Прямоточный глушитель
Всего две трубы разного диаметра, помещённых одна в другую. Зато какой эффект!
Преимущества, которые даёт прямоточный глушитель
Давайте для начала рассмотрим преимущества этого самодельного глушителя. И в первую очередь понимаем, что замена приведёт к увеличению мощности двигателя, улучшатся тяговые и скоростные характеристики и многое другое. Но бывает и так, что после установки такого прямоточного глушителя и проверочной езды водитель разницы вначале не чувствует. На бумаге, когда глушитель конструировался, была приведена разница в несколько лошадиных сил. Но почувствовать реальную разницу на практике так сразу не удастся. Это придёт со временем.
В частности, когда вы на своём «железном» коне будете преодолевать очередной подъём или ускоряться, пытаясь совершить обгон, вот тогда и будут заметны результаты.
Идём дальше. Кроме того, что автомобиль станет «сильным», у него появится звук, достойный только самых лучших и быстрых машин. Ощущение появится такое, что сидишь за рулём спортивного болида, а не обычного автомобиля с 80–130 «лошадками».
На видео — звук автомобиля с прямотоком:
Новый глушитель даст ещё одно незаменимое преимущество. Это переделка автомобиля, что называется, «под себя». Сам своими руками улучшаешь характеристики своего автомобиля. Да, это многого стоит!
Как сделать прямоток своими руками
Теперь о том, как всё проделать? В первую очередь следует знать, что нужно будет работать с системой выхлопа в целом. И нужно будет провести операцию, которая поможет избежать ссор с соседями касательно звука вашего автомобиля. Другими словами, проведём профессиональный тюнинг, направленный на придание низкого, спортивного звука.
Что касается труб глушителя, то они должны быть выполнены из материала жаростойкого, так как газ, выходящий из двигателя, горячий и они должны это выдержать.
Чтобы сделать прямоток своими руками, необходимо найти подходящий штатный глушитель, подойдёт и тот, который на машине стоит, если, конечно, он не дырявый. Кроме того, нужно ещё подобрать две трубы нужного размера и специальный поглотитель шума.
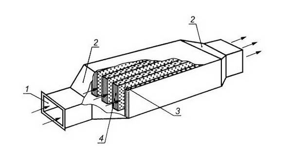
Ниже даётся схема прямоточного глушителя, где цифрой 4 и отмечен этот самый материал, поглощающий шум:

Схема прямоточного глушителя
Берём штатный глушитель и осторожно вырезаем стенки, а затем вынимаем все внутренние детали. Дальше подбираем трубу, имеющую меньший диаметр, чем глушитель. Но она не должна быть слишком тонкой, а такой, чтобы идеально подходить к основе. Вырезаем отверстие в том месте, где труба будет вмонтирована. Входной и выходной патрубок внутри глушителя нужно будет соединить отрезком трубы такого же диаметра, как и сама основная труба.
Также множество отверстий диаметром 8–10 мм просверливаются в отрезке трубы, а её концы привариваются. Что касается пустоты внутри корпуса трубы, то её заполняем негорючим материалом, например стекловатой или чем-то вроде неё. После этого корпус глушителя заваривается.
На видео — установка прямоточной системы на автомобиль:
Если постараться и иметь в наличии все необходимые материалы, прямоточный глушитель можно будет сделать всего за час. Как и говорилось выше, снизить шум позволит мягкий наполнитель. В частности, такой материал подавит высокочастотные колебания, но оставит приятный спортивный бас.
Если же прямоточный глушитель делаем с нуля, то технология изготовления схожа с вышеописанной. Только вместо глушителя нужно будет подобрать соответствующего размера трубу и, таким образом, корпус изготовить из цельного куска.
Нужен ли резонатор или нет
Теперь рассмотрим такую деталь, как резонатор. Нужен ли он вообще? Такая деталь отвечает за своевременный выход из камеры мотора сгоревших газов. Таким образом освободится место для поступления новых газов, тем самым работа двигателя станет проходить быстрее. Почти все эксперты сходятся в одном — от качества резонатора зависит мощность двигателя, так что эта деталь очень важна. И когда вы слышите о том, что спортивные модели подверглись модернизации, то в первую очередь это касается резонатора. Конечно же, на штатной выхлопной системе резонатор имеется, но его меняют на более усовершенствованный.
Резонатор должен располагается за прямотоком, дабы основной поток ядовитых газов, идущих от мотора, принять на себя. И чем эффективнее будет в этом случае работа резонатора, тем лучше станут ходовые качества автомобиля.
Чтобы лучше понять суть работы резонатора, следует понять его многослойную конструкцию. Каждый из слоёв резонатора выполняет определённую функцию, свой вид работы. К примеру, уровень воздушного фильтра состоит из отражателей, которые, собственного говоря, воздушные потоки и гасят.
Кроме того, эффективность резонатора зависит от трёх важных составляющих. Это чистота глушителя, состояние катализатора и диаметр труб.

Изготовление прямоточного глушителя
Различают два вида резонаторов для глушителя. Распространены резонаторы для двухконтактного и четырёхконтактного двигателей. Каждый имеет свои преимущества и минусы.
В частности, в процессе эксплуатации было замечено, что резонатор для четырёхконтактного двигателя является скорее помехой, чем помощником. Демонтировать резонатор с этого вида глушителя означает, что мощность мотора возрастает на целых 15%.
С другой стороны, при отсутствии резонатора в двухтактном двигателе в глушитель будут выходить не только отработанные газы, но и остатки несгоревшего топлива. И вообще, будет наблюдаться потеря скорости с одновременным увеличением расхода топлива. Понятно, что такой вариант никого не устроит.
Чтобы увеличить мощность двигателя, выхлопная система должна быть настроена таким образом, чтобы уменьшалось сопротивление выходу газов и при впуске обеспечивалось разряжение.
Начнём с сопротивления выхлопным газам. Поставив прямоточный глушитель, можно на все сто процентов решить эту проблему. Сопротивление выхлопной системы снижается, и одновременно создаются благоприятные условия для всасывания воздушно-топливной смеси в камеру сгорания.
Как это происходит? А всё просто. Прямоток создаёт меньшее сопротивление выходящим газам, которые уже эффективнее покидают камеру сгорания. Это позволяет, в свою очередь, быстрее занять своё место в камере воздушно-топливной смеси. Понятно, что в результате это отразится на мощности двигателя.
Как проводят шумоизоляцию глушителя
Хотелось бы более подробно рассмотреть этот вопрос. Как и говорилось выше, для того, чтобы звук вашего глушителя имел все нотки спортивного автомобиля, необходимо приобрести качественный шумоизоляционный материал. Им следует обернуть готовый глушитель сверху, а поверх него ещё раз обернуть, но уже листом нержавеющей стали. Не забываем о том, что следует обеспечить нахлёст с обеих сторон в пять сантиметров. И напоследок, нужно будет приварить ушки для держателя, чтобы готовый глушитель было легко поставить на автомобиль и закрепить так, чтобы сидел как мёртвый.

Установка прямоточного глушителя
Работы такого вида должны быть выполнены высокопрофессионально, так как это очень важно с технической точки зрения. Прямоток своими руками сделать несложно, но нельзя забывать, что выхлопная система автомобиля привыкла к старому штатному глушителю.
Вообще, чтобы обеспечить объёмный звук с низкими басами, следует кое-что знать. Низкий бас получится, если увеличить концы трубы глушителя. Кроме того, шумоизоляция, выполненная вышеописанным методом, поможет подавить высокие звуковые частоты.
Происходит всё следующим образом: длинный конец трубы глушителя создаёт своеобразный резонанс, а в камере падает давление. Всё это способствует быстрому выведению отработанных газов и, как говорилось уже выше, скорому наполнению камеры новой воздушно-топливной смесью. А штатный глушитель и вся выхлопная система работали совершенно иначе. Выход газов, идущий от мотора, закрывался, чтобы не было слышно звуков. Поэтому деталь так и назвали — глушитель звука. А про мощность двигателя, которая, таким образом, значительно снижалась, не подумали.
Следует знать ещё один важный нюанс. Прямоток будет наиболее эффективен, если поставить его на машину с большим объёмом двигателя и немалой мощностью. Для автомобиля с малой мощностью двигателя можно соорудить обычную «банку», а для кроссоверов или джипов, например, нужно устанавливать прямоточный глушитель уже с более сложной системой.
Минусы установки прямоточного глушителя
Теперь полезно будет рассмотреть минусы прямоточного глушителя, которые всё же есть. К ним можно отнести, во-первых, некоторые ограничения, связанные с ТО. Ведь возможно, что глушитель, установленный своими руками, технический осмотр не пройдёт, так как в принципе изменение конструкции автомобиля недопустимо. В этом случае можно придумать следующее: на момент прохождения ТО поставить снова штатный глушитель, а после прохождения вновь прямоточный. Поэтому заранее нужно предусмотреть всё это и провести работы так, чтобы демонтаж и установку проводить было удобно.

Шумоизоляция глушителя
Во-вторых, даже низкий частотный звук с большим объёмом может вызвать недовольство соседей и прохожих. Не привыкли у нас в стране пока к таким спортивным глушителям и на вас могут «накатать» жалобу.
Тюнинг выхлопной системы также способен значительно повысить расход топлива, ведь мощность двигателя увеличивается. И если вы надеетесь, что автомобиль будет потреблять столько же топлива, как и раньше, то ошибаетесь. Хотя увеличение расхода в таком случае будет незначительным.
И напоследок, хотелось бы предупредить о том, что цена на такие услуги в автосервисах довольно высока. Как и было сказано, эти работы связаны с изменением конструкции автомобиля и за их проведение берут немалую сумму денег. Поэтому, если вы заинтересованы в придании вашему автомобилю мощности, индивидуальности и спортивного звука, вооружитесь терпением и начните менять всё сами.